The availability of high-resolution surgical microscopes, small-gauge posterior-segment instruments, and endoscopes has enabled ophthalmologists to perform complex cases with improved anatomic and functional success, including complicated traumatic retinal detachment (RD) repair, and intraocular foreign body (IOFB) removal.1-4 Many recent reports shed light on important factors to consider when managing ocular injuries.5-10 Standard management guidelines for ocular trauma include a thorough history of the timing, nature, and surroundings of the inciting trauma and meticulous ocular examination. The characteristics of the injury and clinical examination will establish the necessity for various ocular imaging procedures as well as the need for referral to the appropriate eye specialist.11
External inspection for eyelid trauma, proptosis, or tenseness of the orbit is important. Assessment of visual acuity at presentation is critical to assess the condition of the injured eye and to predict ultimate visual outcome.12-15 An afferent pupillary defect (APD) will indicate loss of optic nerve (ON) function and/or possibly severe retinal functional loss. An APD should be distinguished from a nonreactive, dilated pupil, which may be a sign of increased intracranial pressure and brainstem herniation. Careful slit lamp and indirect ophthalmoscopic examination is performed to evaluate the full extent of ocular injury and to identify the principal cause or causes of decreased vision.16 Uncommonly, unilateral or bilateral visual loss may occur with a normal eye exam but abnormal pupillary responses, in which case injury may be limited to the retrobulbar optic nerve or intracranial visual pathways. An APD will be present unless both optic nerves are damaged.17 A neuro-ophthalmologist should be consulted promptly to evaluate for ON avulsion, contusion, laceration, or hemorrhage within the dural sheath.
Ocular contusion injuries that cause retrobulbar hemorrhage or hyphema resulting in extremely high intraocular pressure require prompt management. Lateral canthotomy and cantholysis for orbital compartment syndrome caused by retrobulbar hemorrhage can be performed at the bedside.18 Orbital fractures may cause palpable step-off and tenderness of the orbital rim, numbness in the distribution of the second branch of the fifth cranial nerve (infraorbital region), enophthalmos, and/or restricted eye movement. These fractures do not require emergency repair and may require treatment only if double vision persists 2 to 3 weeks after resolution of orbital edema or if the enophthalmos poses a cosmetic problem.19 It is important, however, to recognize entrapment of an ocular muscle that causes painful restrictive eye movement even with forced ductions. In such cases, muscle necrosis can result in irreversible injury. In this setting, an orbital surgeon should be contacted for emergent surgical release of the muscle.
OPEN-GLOBE INJURIES
Open-globe injury has an incidence of approximately 4.6 per 100,000 persons in the United States.20 The American Academy of Ophthalmology recommends primary repair of open globes within 24 hours to reduce the risk of endophthalmitis.21,22 Delays in primary repair have been associated with reduced final visual outcome by approximately 2 Snellen lines (0.37 logMAR) per 24 hours.23
The goal of open-globe repair (OGR) is to preserve the best potential vision and to reduce the risk of infection. Some patients may be blind with no light perception (NLP) at presentation. One should still consider OGR over primary enucleation if the ruptured globe can be closed surgically. Rarely, the globe undergoes such disruption that surgical closure is not achievable. One-fifth of the NLP open-globe injury eyes may still have the potential for vision improvement to LP or better.24,25 The psychological effect of permanently losing an eye can be devastating; loss of an organ often is associated with clinical depression.26 Enucleation can be performed after OGR if NLP persists; this permits a thorough discussion with the patient and family without placing undue time pressure on the patient at presentation with an open-globe injury.27 Sympathetic ophthalmia is a rare complication of open-globe injury, affecting 0% to 0.2% of eyes with penetrating injuries; this condition should be discussed with the patient and family when considering enucleating vs repairing a severely injured eye.28-30
It may be difficult or impossible to assess the severity of accompanying disorders such as hyphema, cataract, vitreous hemorrhage (VH), RD, or choroidal detachment when the globe is not intact.31 Retinal and choroidal detachments maybe serous and can resolve once the open globe is repaired and hypotony resolves. Zone 3 (ie, a rupture that extends more than 5 mm posterior to the limbus) full-thickness lacerations with prolapse of intraocular contents will require surgical intervention for an RD because the anterior extent of the retina (ie, the ora serrata) lies approximately 5 mm to 8 mm posterior to the corneal limbus. The eye should be reassessed within the first week after globe repair to evaluate the residual injuries. Vitreous hemorrhage without RD in zone 1 injury (ie, anterior to the corneal limbus) and zone 2 injury (ie, between the limbus and 5 mm posterior to the limbus) may be observed and closely monitored after the repair. However, if there is no view of the fundus and there is no resolution of VH within the first 2 to 3 weeks after repair, pars plana vitrectomy (PPV) should be considered to remove VH and to identify and treat occult retinal tears. Urgent surgical removal of cataract and hyphema can be performed if the intraocular pressure is not controlled medically32 or if a clearer view of the fundus is required for diagnostic or therapeutic purposes.
The timing of RD repair after OGR is controversial.33-37 The best time for intervention for RD repairs may be 7 days to 15 days after injury, because this creates an opportunity for the open globe wound to heal, for inflammation to subside, and for initiation of spontaneous posterior vitreous detachment if none was present at presentation.6,23,38 Proliferative vitreoretinopathy may begin to develop and progressively increase within 2 weeks to 6 weeks of injury in presence of retinal tears and RD (Figure 1).39 Corneal edema can be severe enough to preclude a view of the posterior pole that would allow retinal surgery. Vitreoretinal surgery sometimes can be delayed until the corneal edema improves. If retinal surgery is deemed urgent or emergent and if the view of the posterior pole is inadequate due to corneal laceration or edema, one may combine penetrating keratoplasty and PPV using a temporary keratoprosthesis intraoperatively.40-42 Severely injured deformed globes with poor anterior segment anatomy may not be candidates for this procedure.43 Endoscopic vitrectomy may be an option in some eyes with anterior-segment media opacities and an inadequate view of the posterior segment. Endoscopic vitrectomy surgery is performed using image projection from the camera in the probe onto a 2-dimensional nonstereopsis monitor. Identification of the exact location of the endoscope probe requires the recognition of normal landmarks within the eye. The ocular structures may be displaced from their normal location in severely injured eyes, and extensive pathology can render this technique challenging.1,43
INTRAOCULAR FOREIGN BODIES
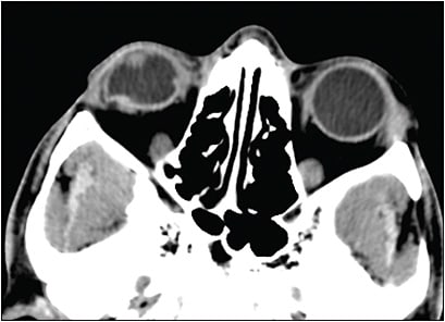
Diagnosing retained IOFBs can be challenging, especially if they are small and nonmetallic. Ocular imaging using CT scan (axial 1-mm cuts with sagittal and coronal reconstruction images) should be performed in all suspicious cases (Figures 2 and 3). Identification of the IOFB depends on the radiodensity of the material.44 Helical CT scanners have a resolution of 0.6 mm,45,46 but small plastic, glass, or wood pieces (<0.5 mm) can be missed, especially if there is extensive VH and the globe is disorganized due to injury (Figure 4). Such cases may require further investigation using MRI,47,48 provided that the IOFB is not magnetic. Newer ocular ultrasonography machines are very sensitive and may detect extremely small radiolucent materials. Use of echography in the setting of an open-globe injury requires an experienced echographer, because undue pressure on the globe can exacerbate the extent of injury and increase the risk of infection.
The optimal timing of IOFB removal remains controversial. Traditionally, surgeons have recommended IOFBs removal emergently, within 24 hours to 48 hours after trauma.5,49,50 However, two large retrospective studies from Operation Iraqi Freedom and Operation Enduring Freedom, where IOFB removal was delayed by necessity, did not reveal any cases of endophthalmitis. It is important to note that all of those patients received systemic antibiotics very soon after injury and were involved in explosive injures in which the IOFB may have been heat sterilized. In addition, these patients underwent emergent OGR before being transferred to a secondary facility for IOFB removal. The median time of delay in IOFB removal was 21 days and 32 days in the first and second report, respectively.7,51 The timing of IOFB removal should be expedited and made on a case-by-case basis taking into account the best optimal conditions available to perform such cases with the right equipment and an experienced ocular trauma team.5 Surgery also may be delayed because the expertise and/or equipment needed to perform the surgery are not available at the facility to which the patient presents, which necessitates transfer to another facility and an associated delay in treatment. If surgery must be delayed, the ophthalmologist may consider administering intravitreal and/or systemic antibiotics to forestall infection, particularly if the injury occurs in a high-risk setting (eg, farm injury with contaminated material).
TRAUMATIC ENDOPHTHALMITIS
Traumatic endophthalmitis (TE; Figure 5) occurs in 0% to 30% of open-globe injuries.9,22,52-54 Open-globe injuries with concurrent endophthalmitis require emergent surgical closure of the globe with injection of intravitreal antibiotics, systemic antibiotics, and, if possible, PPV. Most eyes with TE develop infection within a few days after open-globe injury. Patients with fungal infection may present with a more protracted time course. Any patient with open-globe injury who presents with endophthalmitis should undergo special studies (eg, CT scan) if a retained IOFB is a possibility based on the history and circumstances of the injury. The microbiological spectrum of TE differs from that of postoperative endophthalmitis with greater prevalence of virulent organisms such as Bacillus species and S. aureus.55,56 The patient’s condition can worsen within hours with many patients so afflicted going on to have NLP. Almost all TE cases will require PPV with intravitreal antibiotics emergently. If the infection is very early and mild (20/30 or better view of the retina due to vitritis) or if there is a delay in performing PPV due to unavoidable circumstances as noted above, one should consider bedside intravitreal antibiotic administration as initial therapy.
Surgical management of TE can be challenging due to poor visualization through a cloudy cornea and/or disorganized globe contents. It is possible that foreign bodies may not be identified. If the infection does not dissipate with intraocular and systemic antibiotics in eyes with retained IOFBs, enucleation may have to be considered if the condition progresses to panophthalmitis, which can be life-threatening.
Standard broad-spectrum systemic, intravitreal, and topical antibiotics are used to treat TE and include vancomycin and ceftazidime. If the patient is allergic to third-generation penicillin, a fluoroquinolone may be considered (eg, levofloxacin). Once culture results are available, if the patient is not responding satisfactorily, the antibiotics can be switched to ones with improved sensitivities for the causative organisms.57 If the patient is responding, however, one generally does not have to change the regimen. If infection develops weeks after the repair, one should also consider using voriconazole systemically and intravitreally to treat fungal infection.
PROPHYLAXIS FOR TRAUMATIC ENDOPHTHALMITIS
There are no standard definite guidelines based on large randomized controlled trials for prophylaxis of TE in open-globe injury. Patients can be treated with oral levofloxacin 500 mg QD, but high-risk cases (contaminated wound, rural setting, ruptured lens capsule, delayed primary repair >24 hours) should be treated with intravenous systemic antibiotics, vancomycin and ceftazidime, for at least 3 days before switching to oral antibiotics.9,22 Use of intracameral antibiotics should be strongly considered in eyes with IOFBs to decrease the odds of developing TE.8,48 However, if the IOFB is removed promptly and if there is no sign of infection at the time of IOFB removal, then treatment with topical and systemic antibiotics usually suffices to prevent infection.
CONCLUSION
The visual prognosis of open-globe injuries is guarded even when managed emergently under optimal conditions and by an experienced ocular trauma team. The road to recovery typically is long with multiple rehabilitative surgical procedures. Such injuries are associated with extensive economic loss at both a personal and societal level. Preventive measures are as important in reducing the economic burden as expedited management for eye injuries for the best functional and anatomic outcome.58 RP
REFERENCES
- Bove Alvarez M, Arumi CG, Distefano L, et al. Comparative study of penetrating keratoplasty and vitreoretinal surgery with Eckardt temporary keratoprosthesis in ocular trauma versus non-trauma patients. Graefes Arch Clin Exp Ophthalmol. 2019;257(11):2547-2558.
- Ehrlich R, Polkinghorne P. Small-gauge vitrectomy in traumatic retinal detachment. Clin Exp Ophthalmol. 2011;39(5):429-433.
- Chen X, Zha Y, Du S, et al. Timely use of conventional vitrectomy and endoscope-assisted vitrectomy for endophthalmitis following open ocular trauma: A retrospective study of 18 patients. Med Sci Monit. 2019;25:8628-8636.
- Ung C, Stryjewski TP, Eliott D. Indications, findings, and outcomes of pars plana vitrectomy after open globe injury. In: Ophthalmology Retina. Vol 4. Elsevier Inc; 2020:216-223.
- Relhan N, Forster RK, Flynn HW. Endophthalmitis: then and now. Am J Ophthalmol. 2018;187:20-27.
- Yu H, Li J, Yu Y, et al. Optimal timing of vitrectomy for severe mechanical ocular trauma: a retrospective observational study. Sci Rep. 2019;9(1):18016.
- Justin GA, Baker KM, Brooks DI, et al. Intraocular foreign body trauma in Operation Iraqi Freedom and Operation Enduring Freedom. Ophthalmology. 2018;125(11):1675-1682.
- Soheilian M. Prophylaxis of acute posttraumatic bacterial endophthalmitis. Arch Ophthalmol. 2007;125(4):460.
- Bhagat N, Nagori S, Zarbin M. Post-traumatic infectious endophthalmitis. Surv Ophthalmol. 2011;56(3):214-251.
- Bhagat N, Turbin R, Langer P, et al. Approach to management of eyes with no light perception after open globe injury. J Ophthalmic Vis Res. 2016;11(3):313-318.
- Chronopoulos A, Ong JM, Thumann G, et al. Occult globe rupture: diagnostic and treatment challenge. Surv Ophthalmol. 2018;63(5):694-699.
- Lin H, Lema GMC, Yoganathan P. Prognostic indicators of visual acuity after open globe injury and retinal detachment repair. Retina. 2016;36(4):750-757.
- Orban M, Islam YFK, Haddock LJ. Timing and outcomes of vitreoretinal surgery after traumatic retinal detachment. J Ophthalmol. 2016;2016:1-7.
- Williams DF, Mieler WF, Abrams GW, et al. Results and prognostic factors in penetrating ocular injuries with retained intraocular foreign bodies. Ophthalmology. 1988;95(7):911-916.
- Bauza AM, Emami P, Soni N, et al. A 10-year review of assault-related open-globe injuries at an urban hospital. Graefes Arch Clin Exp Ophthalmol. 2013;251(3):653-659.
- Razeghinejad R, Lin M, Lee D, et al. Pathophysiology and management of glaucoma and ocular hypertension related to trauma. Surv Ophthalmol. February 2020. [Epub ahead of print]
- Levin LA, Beck RW, Joseph MP, Seiff S, Kraker R. The treatment of traumatic optic neuropathy: the international optic nerve trauma study. Ophthalmology. 1999;106(7):1268-1277.
- Hersh P, Zagelbaum B, Cremer S. Ophthalmic Surgical Procedures. 2nd ed. Thieme. 2009.
- Chung SY, Langer PD. Pediatric orbital blowout fractures. Curr Opin Ophthalmol. 2017;28(5):470-476.
- Ramirez DA, Porco TC, Lietman TM, et al. Ocular injury in united states emergency departments: seasonality and annual trends estimated from a nationally representative dataset. Am J Ophthalmol. 2018;191:149-155.
- Thompson JT, Parver LM, Enger CL, Mieler WF, Liggett PE. Infectious endophthalmitis after penetrating injuries with retained intraocular foreign bodies. Ophthalmology. 1993;100(10):1468-1474.
- Ahmed Y, Schimel AM, Pathengay A, Colyer MH, Flynn HW Jr. Endophthalmitis following open-globe injuries. Eye (Lond). 2012;26(2):212-217.
- Blanch RJ, Bishop J, Javidi H, Murray PI. Effect of time to primary repair on final visual outcome after open globe injury. Br J Ophthalmol. 2019;103(10):1491-1494.
- Soni NG, Bauza AM, Son JH, Langer PD, Zarbin MA, Bhagat N. Open globe ocular trauma: Functional outcome of eyes with no light perception at initial presentation. Retina. 2013;33(2):380-386.
- Boucenna W, Taright N, Delbarre M, et al. Functional results and prognostic factors in open-globe ocular trauma with presenting visual acuity of no-light perception. J Fr Ophtalmol. February 26, 2020. [Epub ahead of print]
- Wise EA, Beck JG. Work-related trauma, PTSD, and workers compensation legislation: Implications for practice and policy. Psychol Trauma. 2015;7(5):500-506.
- Cunningham ET, Kilmartin D, Agarwal M, Zierhut M. Sympathetic ophthalmia. Ocul Immunol Inflamm. 2017;25(2):149-151.
- Arevalo JF, Garcia R, Al-Dhibi H, Sanchez JG, Suarez-Tata L. Update on sympathetic Ophthalmia. Middle East Afr J Ophthalmol. 2012;19(1):13-21.
- Makley TA, Azar A. Sympathetic ophthalmia: a long-term follow-up. Arch Ophthalmol. 1978;96(2):257-262.
- Li EY, Chan TC, Liu AT, Yuen HK. Epidemiology of open-globe injuries in Hong Kong. Asia-Pacific J Ophthalmol. 2017;6(1):54-58.
- Hoogewoud F, Chronopoulos A, Varga Z, Souteyrand G, Thumann G, Schutz JS. Traumatic retinal detachment-the difficulty and importance of correct diagnosis. Surv Ophthalmol. 2016;61(2):156-163.
- Walton W, Von Hagen S, Grigorian R, Zarbin M. Management of traumatic hyphema. Surv Ophthalmol. 2002;47(4):297-334.
- Kuhn F. The timing of reconstruction in severe mechanical trauma. Ophthalmic Res. 2014;51(2):67-72.
- Agrawal R, Shah M, Mireskandari K, Yong GK. Controversies in ocular trauma classification and management: review. Int Ophthalmol. 2013;33(4):435-445.
- Ghoraba HH, Heikal MA, Mansour HO, Abdelfattah HM, Elgemai EM, Zaky AG. Timing of pars plana vitrectomy in management of gunshot perforating eye injury: observational study. J Ophthalmol. 2016;2016:1-8.
- Mansouri MR, Tabatabaei SA, Soleimani M, et al. Ocular trauma treated with pars plana vitrectomy: early outcome report. Int J Ophthalmol. 2016;9(5):738-742.
- Ma Z, Hu Y. [Some important aspects about treatment of open globe injury]. Zhonghua Yan Ke Za Zhi. 2013;49(8):673-675.
- Xia T, Bauza A, Soni NG, Zarbin MA, Langer PD, Bhagat N. Surgical management and outcome of open globe injuries with posterior segment complications: a 10-year review. Semin Ophthalmol. 2018;33(3):351-356.
- Morescalchi F, Duse S, Gambicorti E, Romano MR, Costagliola C, Semeraro F. Proliferative vitreoretinopathy after eye injuries: an overexpression of growth factors and cytokines leading to a retinal keloid. Mediators Inflamm. 2013;2013:1-12.
- Chun DW, Colyer MH, Wroblewski KJ. Visual and anatomic outcomes of vitrectomy with temporary keratoprosthesis or endoscopy in ocular trauma with opaque cornea. Ophthalmic Surg Lasers Imaging. 2012;43(4):302-310.
- Khouri AS, Vaccaro A, Zarbin MA, Chu DS. Clinical results with the use of a temporary keratoprosthesis in combined penetrating keratoplasty and vitreoretinal surgery. Eur J Ophthalmol. 2010;20(5):885-891.
- Vaccaro A, Chu DS, Zarbin MA. Keratoprosthesis is a bridge in combined penetrating keratoplasty and pars plana vitrectomy surgeries. Invest Ophthalmol Vis Sci. 2008;49:5704.
- Yonekawa Y, Papakostas TD, Marra KV, Arroyo JG. Endoscopic pars plana vitrectomy for the management of severe ocular trauma. Int Ophthalmol Clin. 2013;53(4):139-148.
- Patel SN, Langer PD, Zarbin MA, Bhagat N. Diagnostic value of clinical examination and radiographic imaging in identification of intraocular foreign bodies in open globe injury. Eur J Ophthalmol. 2012;22(2):259-268.
- Wang J, Fleischmann D. Improving spatial resolution at CT: development, benefits, and pitfalls. Radiology. 2018;289(1):261-262.
- Lin E, Alessio A. What are the basic concepts of temporal, contrast, and spatial resolution in cardiac CT? J Cardiovasc Comput Tomogr. 2009;3(6):403-408.
- Sung EK, Nadgir RN, Fujita A, et al. Injuries of the globe: What can the radiologist offer? Radiographics. 2014;34(3):764-776.
- Loporchio D, Mukkamala L, Gorukanti K, Zarbin M, Langer P, Bhagat N. Intraocular foreign bodies: a review. Surv Ophthalmol. 2016;61(5):582-596.
- Choovuthayakorn J, Hansapinyo L, Ittipunkul N, Patikulsila D, Kunavisarut P. Predictive factors and outcomes of posterior segment intraocular foreign bodies. Eye (Lond). 2011;25(12):1622-1626.
- Nicoara SD, Irimescu I, Calinici T, Cristian C. Intraocular foreign bodies extracted by pars plana vitrectomy: clinical characteristics, management, outcomes and prognostic factors. BMC Ophthalmol. 2015;15(1):151.
- Colyer MH, Weber ED, Weichel ED, et al. Delayed intraocular foreign body removal without endophthalmitis during Operations Iraqi Freedom and Enduring Freedom. Ophthalmology. 2007;114(8):1439-1447.
- Andreoli CM, Andreoli MT, Kloek CE, et al. Low rate of endophthalmitis in a large series of open globe injuries. Am J Ophthalmol. 2009;147(4):601-608.e2.
- Banker TP, McClellan AJ, Wilson BD, et al. Culture-positive endophthalmitis after open globe injuries with and without retained intraocular foreign bodies. Ophthalmic Surg Lasers Imaging Retin. 2017;48(8):632-637.
- Mukkamala LK, Soni N, Zarbin MA, Langer PD, Bhagat N. Posterior segment intraocular foreign bodies: a 10-year review. Ophthalmol Retin. 2017;1(4):272-277.
- Miller JJ, Scott IU, Flynn HW, et al. Endophthalmitis caused by Bacillus species. Am J Ophthalmol. 2008;145(5):883-888.
- Li X, Zarbin MA, Bhagat N. Pediatric open globe injury: a review of the literature. J Emerg Trauma Shock. 2015;8(4):216-223.
- Bhagat N, Li X, Zarbin MA. Post-traumatic endophthalmitis. In: Endophthalmitis. Springer International Publishing; 2016:151-170.
- Hoskin AK, Mackey DA, Keay L, Agrawal R, Watson S. Eye Injuries across history and the evolution of eye protection. Acta Ophthalmol. 2019;97(6):637-643.







